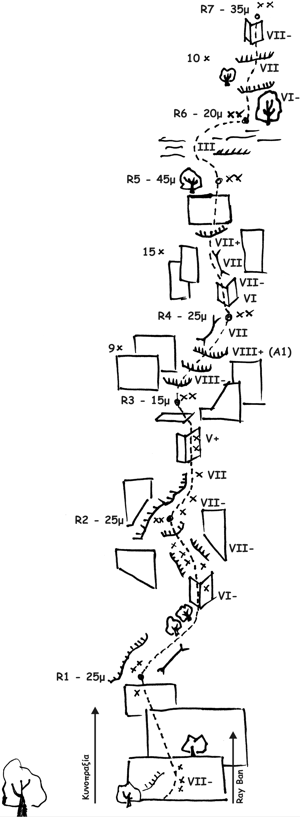
The first ascent of the route “Apagorevmenos karpos” (VII- A1 (VIII+), 200m) was realized on 11/11/2000 by M. Ntaoukas - E. Parousis.
The line moves between the routes “Kynopraxia” and “Ray ban” and starts with the frictionless slabs of the crag. It is characterized by good rock quality and continuous difficulty, as it involves balanced moves together with dynamic ones, all along the route. Basically, it requires climbing mostly on slabs with some difficult overhanging passages. Moreover, impossibility of placing natural pros characterizes the line all along its length, which is why dense protection was deemed obligatory, along many parts of the route, by the climbers who opened it up. Thus, the route could be ranged amongst sport ones. The most beautiful pitch is the last one, which however requires caution as to finding where it begins (R6).
In order to climb this route, one must be equipped with 16 quickdraws and slings.
The first solo repetition of the route was realized on 28/04/2003 by D. Papageorgiou - M. Marinidis - Z. Kamaropoulos, who also suggested skipping some of the pros of the 4th pitch so as not to lose the sequence of moves on the crux. They rated the pitches as following: VII- for the 1st pitch, VI+ for the 2nd pitch, VII for the 3rd pitch, VIII / VIII+ for the 4th pitch, VII for the 5th pitch, III / IV for the 6th pitch and VII for the 7th pitch.
