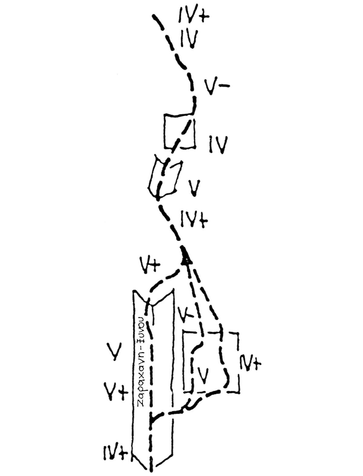
The first ascent of the route “Broom” (V, 220m) was realized in 1966 by P. Idosidis - Th. Zacharanis - M. Kottaris.
The line is located in the “Africana” section, between the “Dihedral of Zacharanis - Xynos”, with which it shares a common start, and the "Argo" route, while it mostly follows the large pillar located above the springs of the stream.
Even thought it is low difficulty route, the absence of permanent protection requires from climbers route finding skills as well as proper use of natural elements of protection. Thus, it could be a challenge for new climbers who wish to try their strength with traditional climbing. The quality of the rock is good enough, almost along the entire route. The required equipment in order to repeat this route comprises a set of nuts, a set of friends and some slings. In-between there are 3 - 4 old pitons.
The 1st pitch starts from a dihedral (IV+) and after a few meters it leads to a ledge to the right. This dihedral is common with the neighboring route “Dihedral of Zacharanis - Xynos”. After the ledge, the pitch continues down and to the right and then it goes up a crack (V, 1 piton) that leads to easy rocks. The belay is set on a comfortable sloping ledge. It would be better to cut this pitch to into two shorter ones; otherwise there will be too many frictions.
The 2nd pitch goes to the right of the big tree which is above the belay station and then it continues straight up (IV). Extreme caution is required with the huge loose rock parts which must be handled with delicate moves. With direction up and right the pitch leads to a comfortable ledge, where the belay is set on an old piton and on natural protections as well.
The 3rd pitch starts by going up and then it easily (III) traverses to the left until a dihedral. This dihedral (IV+) leads to a small ledge where the belay is set. Building the belay requires small and medium nuts as well as good knowledge of natural protection placement.
The 4th pitch goes to the right for a few meters (V-, 1 piton at an uncomfortable - low position) and then up (IV) by moving on very solid and easy rocks, until the belay which is set on a comfortable ledge.
The 5th pitch moves toward a slightly overhanging rock belt (V-), which it surpasses and then, by following easy rocks, it leads to a big ledge with trees where the belay is set.

