The route “Coolness” (VIII+, 270m) was established on 15/1/2026 by V. Yakinthos - M. Sakellariou.
The first repetition was on 30/1/2026 by O. Koutras - V. Yakinthos.
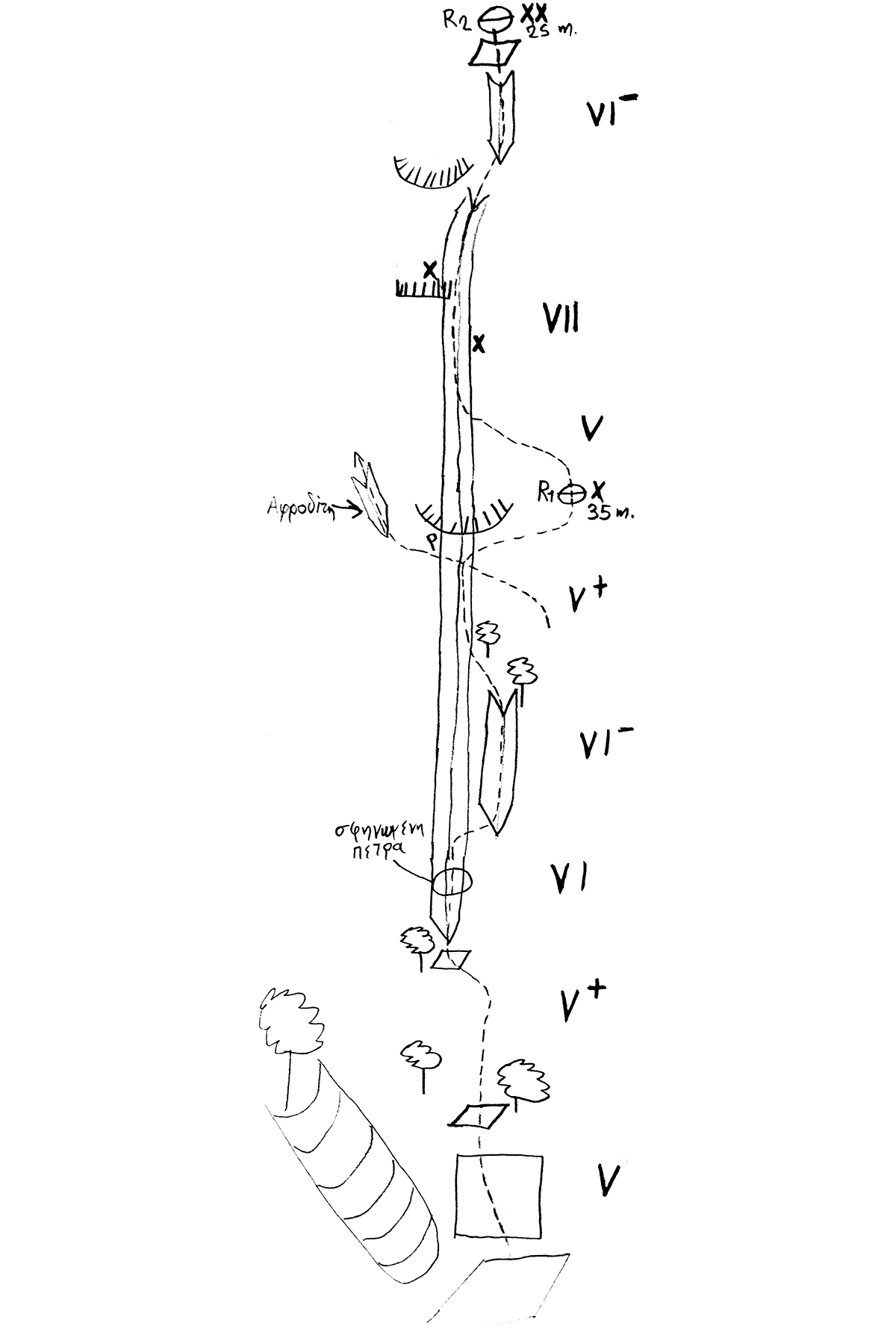
The line is located on the 3rd wall, to the left of the “Kopsi ton aeton”. The climbing on continuous crack-dihedrals as well as the exposure gives the route great aesthetic value.
On the 1st pitch we start with slabs between the trees and after 10m we enter the main dihedral of the route. Just before the belay traverse, we find an old piton from the “Aphrodite” route, which continues to the left.
On the 2nd pitch we start with a left traverse above the belay, until we re-enter the main dihedral and then we simply follow it.
On the 3rd pitch it requires a little attention because it is moderately secured. We move mainly on slabs and small dihedrals until the belay, which is done on an inclined ledge.
On the 4th pitch we follow a beautiful crack-dihedral for the first 15m and after a pass to the left we enter a shoulder crack. The difficult pass could also be done artificially, but the exit after the last slab has two moves. The belay is located a little further left from the exit of the crack.
On the 5th pitch we follow a dihedral-chimney that requires coolness and attention to the peels on the right wall.
On the 6th pitch we climb an excellent complex of successive small dihedrals that have negatives in some places. The pitch, although it does not have permanent belays, can be easily secured.
On the 7th pitch we will feel quite exposed following a large but easy traverse. The lead climber should place something as soon as he makes his way out of the small roof, because in case the second one falls, after the last permanent belay, there is a risk. The rock above is not solid enough to accept a bolt for permanent belay.
On the 8th pitch, we start from a loose dihedral and then move on easy terrain to the belay on a comfortable ledge.
On the 9th pitch, we climb the negatives where for 12m we have continuous negation with moderate holds. The pitch can also be made artificially, but with movements in between the belays.
On the 10th pitch, we simply scramble to get to the top.
In addition to good psychology and ease in placing friends and nuts, necessary materials for repeating the route are 15 quickdraws, 1 series of nuts, 1 series of friends and 2 extra friends (Camalot #0,5 and #1).
The approach to the route is from the classic path of Zilnia and lasts 35min. After the intersection with “Gounaridi - Georgiadi” (or “Classic”), we continue a little further on the regular path and a few meters after we start a steep climb, it has a fork with a pile of stones in the middle. From there we go left and follow the piles of stones, until we reach the bottom of the route. The route starts from a small ledge, where on the left we see a small ditch with trees.



