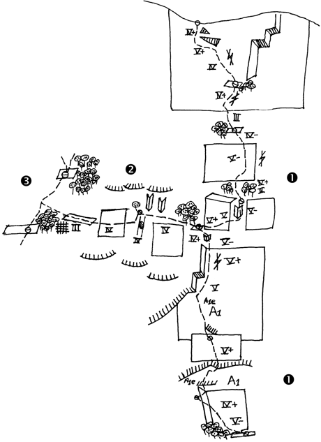
Olympos - Zilnia - S. Face

Pempti fora

Rock, Traditional

The first ascent of the route “Pempti fora” (V+ A1, 170m) was realized on 28/4/1981 by D. Bountolas - C. Delimpaltas.

A variation of this route (IV) was realized on 23/4/1983 by V. Hatzirvasanis - M. Arzoglou. This variation is a traverse, which consists of two pitches and it starts from the 3rd belay of the route “Pempti fora”, while it is united with the route “Gounaridi - Georgiadi” (the “Classic”), as it meets with a variation of the “Classic”, called “Ilios tou Fevrouariou”.

[1] “Pempti fora”, [2] “Hatzirvasani - Arzoglou”, [3] “Gounaridi - Georgiadi”.

Source: D. Bountolas - Climbing guidebook of Zilnia
Photographs:
Translation: E. Katsikerou
Editing: Routes.gr
Published: 2006-03-22
Modified: 2011-05-27
Area: Olympos
Location: Zilnia
Panorama: S. Face
Geolocation: