Όλυμπος - Ζηλνιά - Ν. Ορθοπλαγιά

Μποτίνη - Γουναρίδη

Rock, Traditional

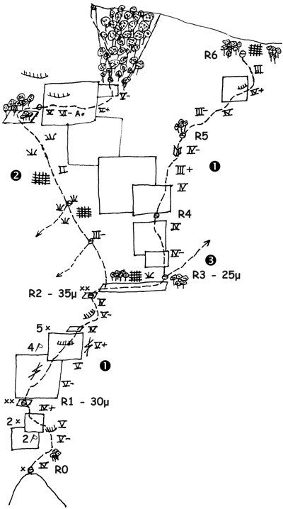
Η «Μποτίνη - Γουναρίδη» (V+, 160μ) ανοίχτηκε στις 28/5/1967 από τους Π. Μποτίνη - Σ. Γουναρίδη και η πρώτη επανάληψή της έγινε στις 6/12/1967 από τους Α. Σπανούδη - Ε. Ελευθεριάδη.

Μια παραλλαγή της διαδρομής έγινε στις 30/5/1976 από τους Δ. Μπουντόλα - Θ. Χρηστίδη - Ε. Τσιλίδου η οποία κινείται επάνω και λίγο αριστερά προκειμένου η έξοδος να γίνει τελικά από την τραβέρσα (VI-) της «Στιγμής της αλήθειας». Η πρώτη επανάληψή της παραλλαγής αυτής έγινε στις 12/4/1979 από τους Δ. Μπουντόλα - Μ. Αρζόγλου.

Σήμερα, η διαδρομή σκαρφαλώνεται ως συνδυασμός διαφόρων γειτονικών γραμμών και είναι μια από τις δημοφιλέστερες του πεδίου. Η 2η σχοινιά καταλήγει σε πατάρι και από εκεί συνήθως γίνεται μια δεξιά τραβέρσα προκειμένου η έξοδος να γίνει τελικά από τις τρεις τελευταίες σχοινιές της «Γουναρίδη - Γεωργιάδη» ή κάποια παραλλαγή της.

Απαραίτητα υλικά για την επανάληψή της είναι μια σειρά καρύδια.

Οι τρεις τελευταίες σχοινιές της διαδρομής, δηλαδή από το ζωνάρι και πάνω, είχαν ανοιχτεί στις 10/10/1965 από τους Α. Σπανούδη - Ε. Αρβανιτίδη ως παραλλαγή επανάληψης της «Γουναρίδη - Γεωργιάδη».

[1] «Μποτίνη - Γουναρίδη», [2] «Μπουντόλα - Χρηστίδη - Τσιλίδου», [3] «Γουναρίδη - Γεωργιάδη».

Πηγή: Ανεβαίνοντας τ. 23, Δ. Μπουντόλας - Αναρριχητικός οδηγός Ζηλνιάς
Φωτογραφίες:
Μετάφραση:
Επιμέλεια: Routes.gr
Δημοσίευση: 2003-05-01
Τροποποίηση: 2011-05-27
Περιοχή: Όλυμπος
Τοποθεσία: Ζηλνιά
Πανοραμικό: Ν. Ορθοπλαγιά
Γεωεντοπισμός: