Ο «Μηνίσκος» (VI+, 160μ) ανοίχτηκε στις 17/8/1984 από τους Δ. Μπουντόλα - Χ. Ανανιάδη.
Η διαδρομή κινείται στο κέντρο της όψης πύργου που προεξέχει από την ορθοπλαγιά, ακολουθώντας χαρακτηριστική γραμμή που σχηματίζεται από σχισμές.
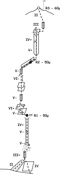
Η 1η σχοινιά ξεκινά από χορταριασμένη ράμπα (II) που οδηγεί στην βάση εύκολου δίεδρου. Εναλλακτικά, μπορεί να ξεκινήσει από πλάκα (IV) που βρίσκεται δεξιά από την ράμπα και οδηγεί επίσης στην βάση του ίδιου δίεδρου. Το δίεδρο ανεβαίνει σε χορταριασμένο επικλινές πατάρι, από όπου αρχίζει μια καμινάδα. Σε δυο σημεία, ένα στην αρχή της καμινάδας και ένα περίπου στη μέση της, υπάρχουν σφηνωμένες πέτρες που δυσκολεύουν λίγο το σκαρφάλωμα. Στην έξοδο της καμινάδας, γίνεται το ρελέ σε 2 καρφιά.
Η 2η σχοινιά είναι η δυσκολότερη της διαδρομής και αρχίζει με αριστερή τραβέρσα (V-, 2μ) κάτω από μικρό αρνητικό. Το αρνητικό είναι εξοπλισμένο με 1 καρφί και ξεπερνιέται εύκολα. Από πάνω του και αριστερά, υπάρχει 1 ακόμη καρφί. Εκεί είναι το δυσκολότερο πέρασμα της διαδρομής (VI+), το οποίο απαιτεί καλή ισορροπία πάνω σε τριβές και κατά το άνοιγμα της διαδρομής είχε γίνει τεχνητά (A1). Η σχοινιά συνεχίζει προς δίεδρο (V-) το οποίο ξεπερνά για να βγει σε πλάκα όπου υπάρχει σφηνωμένο καρύδι με ιμάντα. Πάνω από την πλάκα, η σχοινιά συνεχίζει σε σχισμή ώμου (VI-), η οποία ξεπερνιέται εύκολα αν χρησιμοποιηθεί καλό πάτημα στα δεξιά, ενώ στην έξοδό της υπάρχει 1 καρφί. Ακολουθεί δίεδρο (V-) και μετά, με κατεύθυνση πάνω και δεξιά, η σχοινιά κινείται σε χορταριασμένη ράμπα η οποία δεν ασφαλίζεται, μέχρι το ρελέ που γίνεται σε πλακέτα.
Η 3η σχοινιά συνεχίζει για λίγο στην χορταριασμένη ράμπα, μέχρι την βάση δίεδρου, το οποίο και ακολουθεί μέχρι την έξοδό του. Το δίεδρο, εκτός από ένα πέρασμα (V+) στην αρχή του, γενικά δεν προβληματίζει, ενώ είναι εξοπλισμένο με 1 καρφί περίπου στην μέση του και 2 καρφιά στην έξοδό του. Μετά την έξοδο, η σχοινιά συνεχίζει με δεξιά τραβέρσα σε μικρό πατάρι και συναντά εύκολο δίεδρο (III), μετά το οποίο ακολουθεί εύκολο πεδίο (II) μέχρι την κορυφή του πύργου. Το ρελέ γίνεται σε φυσικές ασφάλειες. Αν τα σχοινιά είναι 50μ, το ρελέ πρέπει να γίνει λίγο μετά την έξοδο από το δίεδρο, περίπου 10μ πριν την κορυφή.
Η ποιότητα του βράχου είναι πολύ καλή, χωρίς καθόλου σαθρά τμήματα, ενώ η εύρεση δρομολογίου είναι απλή υπόθεση.
Απαραίτητα υλικά για την επανάληψη της διαδρομής είναι μια σειρά καρύδια και μια σειρά friends.
Η πρόσβαση στη διαδρομή από το καταφύγιο, γίνεται τραβερσάροντας σχεδόν οριζόντια την πλαγιά και διαρκεί 15λ.
Η επιστροφή από το τέλος της διαδρομής, γίνεται κατεβαίνοντας λίγο πίσω από την κορυφή και ανεβαίνοντας μετά στην πλαγιά, μέχρι μεγάλο χορταριασμένο επικλινές πατάρι, το οποίο με κατεύθυνση δεξιά οδηγεί σε 5λ σε μεγάλο λούκι στρωμένο με σάρα. Στο λούκι μπορεί να υπάρχει χιονούρα νωρίς το καλοκαίρι. Από την βάση του, μια τραβέρσα στην πλαγιά προς τα δεξιά, οδηγεί σε 10λ στο καταφύγιο.
