Το «Ουρλιαχτό της πεταλούδας» (VI+, 300μ) ανοίχτηκε στις 20/6/1993 από τους Γ. Ροκά - Δ. Κάλλο.
Η γραμμή κινείται αριστερά από την διαδρομή «Νίκος Ηλιάκης» ακολουθώντας χαρακτηριστική σχισμή και απαιτεί πολύ καλή ψυχολογία αφού διαθέτει σημεία με δύσκολες κινήσεις σε φτωχή ασφάλιση και πολλά αρνητικά.
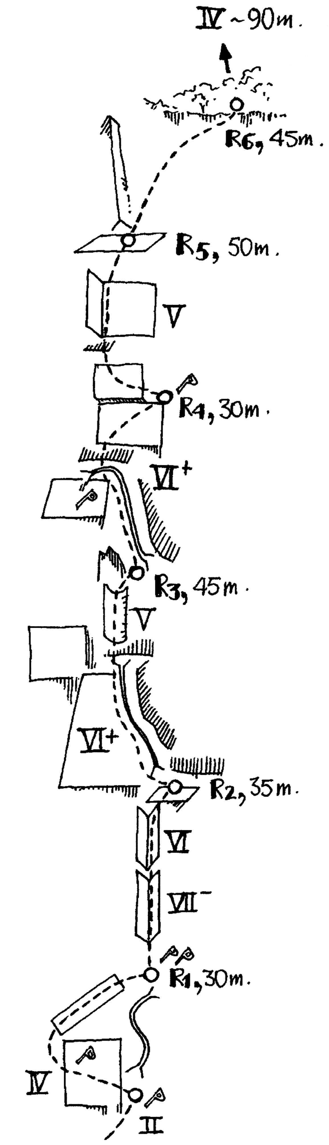
Η 1η σχοινιά αποφεύγει εύκολα ένα σαθρό κομμάτι. Η 2η σχοινιά κινείται πάνω σε σαθρό αλλά και δύσκολο πεδίο με κακή ασφάλιση. Η 3η σχοινιά ακολουθεί μιαν αρνητική σχισμοκαμινάδα. Από εκεί και πάνω ακολουθεί τη φυσική γραμμή του βράχου σχεδόν ευθεία, χωρίς δύσκολα κομμάτια, μέχρι το μεγάλο διάζωμα. Από εκεί, μπορεί κανείς να φτάσει στην κορυφή ακολουθώντας την κόψη της διαδρομής «Νίκος Ηλιάκης» ή την πιο εύκολη κόψη της «Αποστόλου - Μπουντόλα - Σπανούδη».
Για την επανάληψη της διαδρομής απαιτούνται μια σειρά καρύδια και μια σειρά friends. Επαναλαμβάνεται σε 8 ώρες περίπου.
Η επιστροφή από το διάζωμα γίνεται με ραπέλ από το αριστερό άκρο του. Από την κορυφή η επιστροφή είναι δυσκολότερη. Ένας τρόπος είναι η επιστροφή στο διάζωμα με ραπέλ από την κόψη της «Αποστόλου - Μπουντόλα - Σπανούδη». Ένας άλλος τρόπος είναι να ακολουθήσει κανείς την κορυφογραμμή προς τα αριστερά και αφού περάσει την έξοδο της διαδρομής «Χούνη της πέρδικας», συναντάτε λαιμό από τον οποίο κατεβαίνετε προσεκτικά, με συνολικό χρόνο 1ω περίπου.
Η πρώτη χειμερινή επανάληψη της διαδρομής ονομάστηκε «Σκονισμένα όνειρα» (M6 AI 5+) και έγινε τον Φεβρουάριο 2024 από τους Δ. Δασκαλάκη - Χρ. Τσούτσια - Σπ. Κυριάκου.
Πρόσθετες πληροφορίες για την «Σκονισμένα όνειρα» μπορούμε να βρούμε εδώ και εδώ.
