Η διαδρομή «Sorry, not sorry» (VI+, 100μ) σκαρφαλώθηκε στις 6/8/2022 από τους Δ. Γιούνη - Ι. Βέλλα.
Η γραμμή είναι μια πολύ όμορφη μικρή αλπική διαδρομή με το εκτεθειμένο πέρασμα της 2ης σχοινιάς να θυμίζει σπορ σκαρφάλωμα.
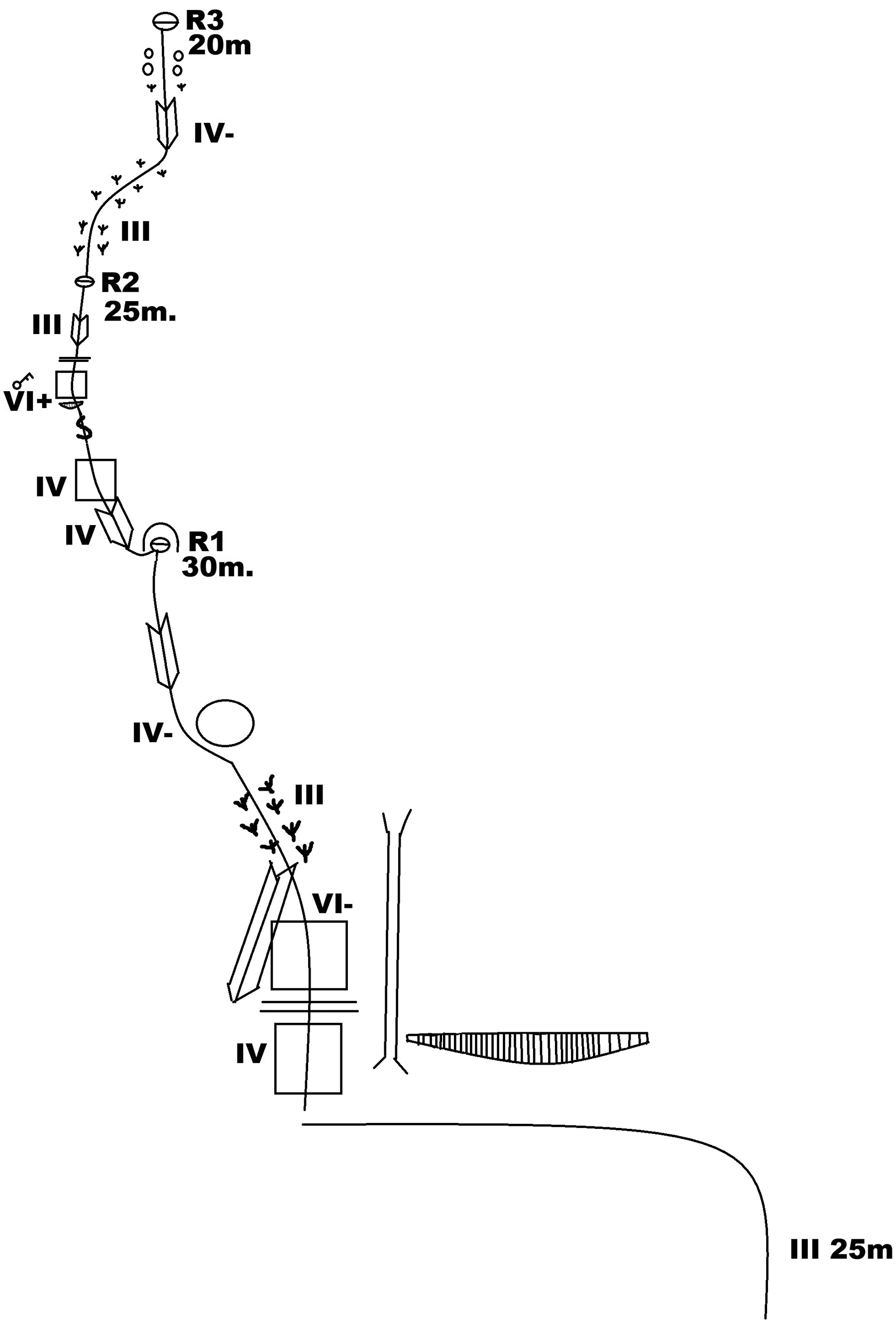
Για να σκαρφαλώσουμε τη διαδρομή, απαιτείται μια μικρή πρόσβαση με ένα εύκολο πέρασμα ώστε να φτάσουμε στην αρχή της 1ης σχοινιάς (R0).
Η 1η σχοινιά ξεκινά από λεία πλάκα (IV) που ασφαλίζεται και οδηγεί σε πατάρι από όπου ξεκινά το δύσκολο πέρασμα. Εκεί βρίσκουμε θετική λεία πλάκα με κρυμμένα καλά πιασίματα (VI-), η οποία αριστερά έχει σχισμή (που παίρνει καλά cams). Η σχισμή ανοίγει πολύ στο τέλος της πλάκας και καταλήγει να γίνει δίεδρο με χορτάρια. Μετά μπαίνουμε σε εύκολο πεδίο με πυκνούς μικρούς κέδρους, για να κάνουμε μια εύκολη αλλά πολύ εκτεθειμένη τραβέρσα που δεν ασφαλίζετε και να βγούμε σε εύκολο δίεδρο με καλό μυτίκι στο τέλος. Μετά το δίεδρο καταλήγουμε σε μικρή σπηλιά που κάνουμε ρελέ με φυσική ασφάλιση.
Η 2η σχοινιά ξεκινά μερικά μέτρα αριστερά από τη σπηλιά, σε ένα όχι και τόσο συμπαγές δίεδρο, με μέτριο μυτίκι στο τέλος. Μετά το μυτίκι βγαίνουμε σε πλάκα με σχισμή στα δεξιά και κινούμαστε ελαφρώς αριστερά για να βγούμε στο δύσκολο πέρασμα. Εκεί θα βρούμε αρνητικό με χούφτες που όμως ασφαλίζετε με ένα ιμάντα σε ένα μυτίκι και σήκωμα σε πολύ εκτεθειμένο πεδίο με μικρό κρυμμένο πιάσιμο. Ο βράχος μοιάζει γυμνός από πιασίματα αλλά έχει ακριβώς αυτά που χρειάζεται. Έπειτα βγαίνουμε σε δίεδρο με κέδρους και καταλήγουμε σε μυτίκια όπου και κάνουμε το ρελέ.
Η 3η σχοινιά είναι πολύ εύκολη και διαλέγουμε τον πιο εύκολο δρόμο για την κορυφή όπου κάνουμε ρελέ σε μυτίκια.
Από εκεί με λίγο καταρρίχηση καταλήγουμε πάνω από το μεγάλο boulder πριν την αρχή του «Ασανσέρ», περίπου 100μ χαμηλότερα από το «Μηνίσκο», οπότε γυρίζουμε με το μονοπάτι.
Η πρόσβαση μέχρι την αρχή της διαδρομής γίνεται από το καταφύγιο, τραβερσάροντας την πλαγιά με κατεύθυνση προς τα δυτικά και αφού φτάσουμε στο μεγάλο boulder στην αρχή του «Ασανσέρ» κατεβαίνουμε και μπαίνουμε κατευθείαν στην βάση της πρώτης σχοινιάς. Εναλλακτικά, μπορεί κανείς να ξεκινήσει την πρόσβαση από την τελευταία βρύση (Βρύση Τράφος στα 1525μ υψόμετρο). Η διαδρομή μπορεί να συνδυαστεί με «Ασανσέρ» και «Μηνίσκο» που βρίσκονται στην ίδια περιοχή.
